



На складе
- Краткое описание
Цветной видеодомофон Commax CDV-70H2 белый без трубки с технологией Hands Free. Модель оснащена TFT LCD дисплеем 7 дюймов с LED-подсветкой. Домофон поддерживает подключение до 2х вызывных блоков и дополнительной трубки DP-4VHP.
Цветной видеодомофон Commax CDV-70H2 белый без трубки с технологией Hands Free. Модель оснащена TFT LCD дисплеем 7 дюймов с LED-подсветкой. Домофон поддерживает подключение до 2х вызывных блоков и дополнительной трубки DP-4VHP.
Видеодомофон может работать с цветными вызывными панелями PAL и NTSC с автоматическим определением формата видеосигнала.
COMMAX CDV-70H2 поддерживает параллельную работу с одним монитором внутри домофонной системы. Подключение к подъездной сети выполняется при помощи блока сопряжения.
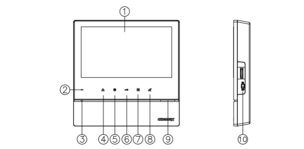
Кнопки управления видеодомофона Commax CDV-70H2:

- ЖК-дисплей;
- Индикатор состояния работы: если домофон включен – светится зеленым, если выключен – нет света;
- Микрофон;
- Кнопка наблюдения / движение вниз, влево: нажмите для просмотра изображения от камеры и для движения в меню вниз и влево;
- Кнопка аудиотрубки / выбор: нажмите, чтобы позвонить на аудиотрубку и для выбора пункта меню;
- Кнопка отпирания замка / движение вверх, вправо: нажмите, чтобы открыть дверь и для движения в меню вверх и вправо;
- Меню: нажмите, чтобы войти в меню для настроек и регулировок;
- Кнопка вызова / ответа: нажмите, чтобы позвонить или ответить посетителю;
- Динамик;
- Выключатель.
Использование домофона
Вызов от посетителя:
- Когда посетитель нажимает кнопку вызова на вызывной панели, раздается звуковой сигнал и изображение посетителя появляется на ЖК-дисплее;
- Если вы нажмете кнопку вызова/ответа, то сможете переговорить с посетителем. Если вы нажмете кнопку отпирания входного звонка, откроется дверь. Кнопка отпирания дверного замка срабатывает только в режиме общения;
- Если в режиме общение между монитором и вызывной панелью третий человек поднимет дополнительную аудиотрубку, то установится 3-х сторонняя связь;
- Чтобы завершить разговор, нажмите кнопку вызова/ответа еще раз.
Общение между вызывной панелью и дополнительной аудиотрубкой:
- Когда посетитель нажимает кнопку вызова на вызывной панели, сигнал вызова звучит как на мониторе, так и на дополнительной подключенной аудиотрубке;
- Если вы поднимите аудиотрубку, вы сможете пообщаться с посетителем и открыть дверь, нажав на кнопку отпирания замка.
Вызов с аудиотрубки на монитор:
- Чтобы позвонить на монитор с дополнительной аудиотрубки, поднимите трубку и нажмите кнопку вызова. На мониторе раздастся звуковой сигнал;
- Нажав кнопку вызова/ответа на мониторе можно поговорить с дополнительной аудиотрубкой;
- Если в режиме общения между монитором и дополнительной аудиотрубкой раздастся сигнал вызова от вызывной панели, на дисплее монитора появится изображение посетителя и установится трехсторонняя связь между монитором, вызывной панелью и дополнительной аудиотрубкой;
- Нажмите кнопку вызова/ответа, чтобы завершить общение.
Вызов с монитора на аудиотрубку:
- Чтобы позвонить с монитора на аудиотрубку, нажмите кнопку ответа/вызова и кнопку аудиотрубки (звуковой сигнал аудиотрубки будет звучать только пока кнопка аудиотрубки на мониторе нажата);
- Чтобы ответить, необходимо поднять аудиотрубку.
Характеристики
- Тип устройства
- видеодомофон
- PIP (картинка в картинке)
- нет
- Диагональ диспея
- 7 дюймов - 17,78 см
- Диагональ экрана
- 7"
- Диапазон рабочих температур
- от 0 до +50С
- Запись видеороликов
- нет
- Запись по датчику движения
- нет
- Квадратор
- нет
- Кол-во подключаемых видео камер / панелей
- 2
- Количество видеовыходов
- 2
- Количество мелодий вызова
- 1
- Масса
- 1,6 кг
- Материал внешней панели
- пластик
- Напряжение сети
- 210-230В 50/60Гц.
- Память
- нет
- Потребляемая мощность
- 1Вт-10Вт
- Производитель
- COMMAX
- Размер
- (ш)180х(в)180х(г)28
- Совместимость с подъездными домофонами
- опция
- Соединение с панелью вызова
- 4-х проводное
- Тип
- без трубки (Hands Free)
- Тип дисплея
- Цветной TFT LCD
- Управление замком
- через вызывную панель
- Управление монитором
- сенсорное
- Установка
- накладная
- Фиксирование фото
- нет
- Формат сигнала
- CVBS
- Цвет корпуса
- белый
- Цветность экрана
- цветной
- Цветовой формат
- PAL/NTSC
Возможна доставка в любой регион РФ и СНГ.
Ниже представлены средние цены за доставку оборудования:
| Доставка по г.Ростов-на-Дону | 500 р. |
| Доставка по г.Ростов-на-Дону негабаритного груза (фурнитура для откатных ворот) | 1500 р. |
| Автомобильная доставка по Ростовской области | 15р*n(км), где
n — расстояние (км) от г.Ростов-на-Дону но не менее 500р. |
| Доставка транспортными компаниями по области, в регионы и другие страны | Уточняются индивидуально, либо через калькулятор выбранной Вами транспортной компании. |
Звоните! Телефон: 7 (863) 270-11-55









Отзывы0
Отзывы с оценкой